[6-220]
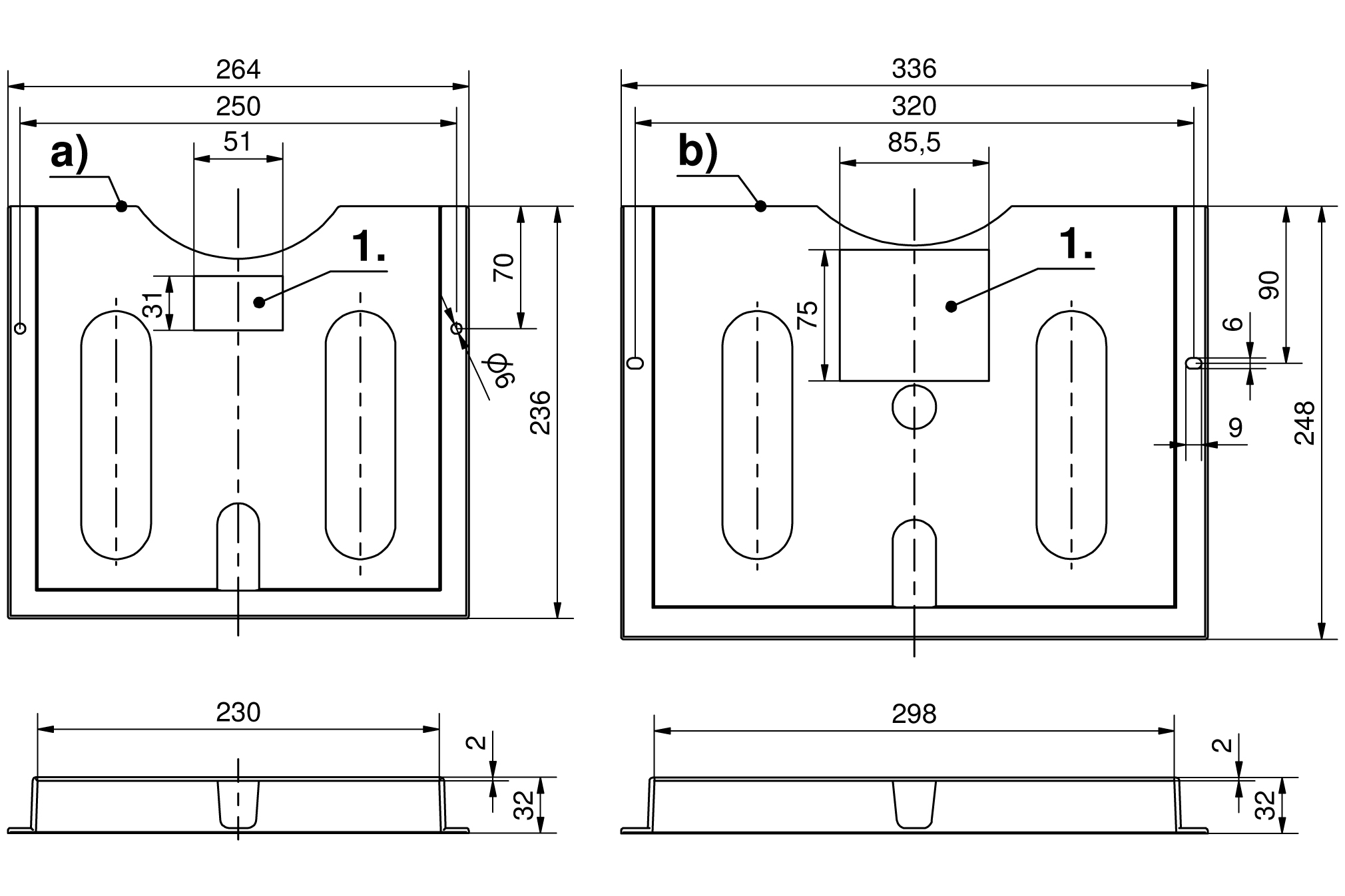
Schaltplantasche
Verfügbare Ausführungen
Schaltplantasche
Produktnummer
Bohr-/Langlöcher
Oberfläche
Montageart
Liefereinheit
a)
231-9001.00-00000
Ø6
grau RAL 7035
selbstklebend/anschraubbar
1 Stck
b)
231-9004.00-00000
9x6
grau RAL 7035
selbstklebend/anschraubbar
1 Stck
b)
231-9005.00-00000
9x6
orange RAL 2000
selbstklebend/anschraubbar
1 Stck