[6-212]
Rastbolzen mit Rastsperre
Verfügbare Ausführungen
Rastbolzen mit Rastsperre
Produktnummer
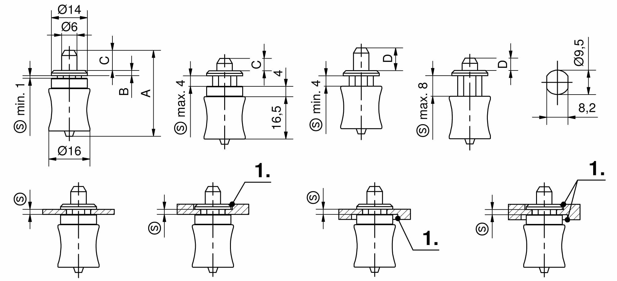
Kopfhöhe B
bei min. - max. Klemmbereich (S) mit Distanzring ist die Bolzenhöhe Cs
bei min. - max. Klemmbereich (S) ohne Distanzring ist die Bolzenhöhe D
Gesamtlänge A
Einbauöffnung Gehäuse
Einbauöffnung Stift
Stiftdurchmesser
Liefereinheit
245-9317.00-00020
2 mm
4,8 - 7,8 mm
4,8 - 8,8 mm
33,4 mm
Ø 9,5 x 8,2 mm
Ø 6,1 + 0,1mm
6 mm
20 Stck
245-9317.00-00030
3 mm
5,8 - 8,8 mm
5,8 - 9,8 mm
35,4 mm
Ø 9,5 x 8,2 mm
Ø 6,1 + 0,1mm
6 mm
20 Stck
245-9317.00-00040
4 mm
4,8 - 7,8 mm
4,8 - 8,8 mm
35,4 mm
Ø 9,5 x 8,2 mm
Ø 6,1 + 0,1mm
6 mm
20 Stck