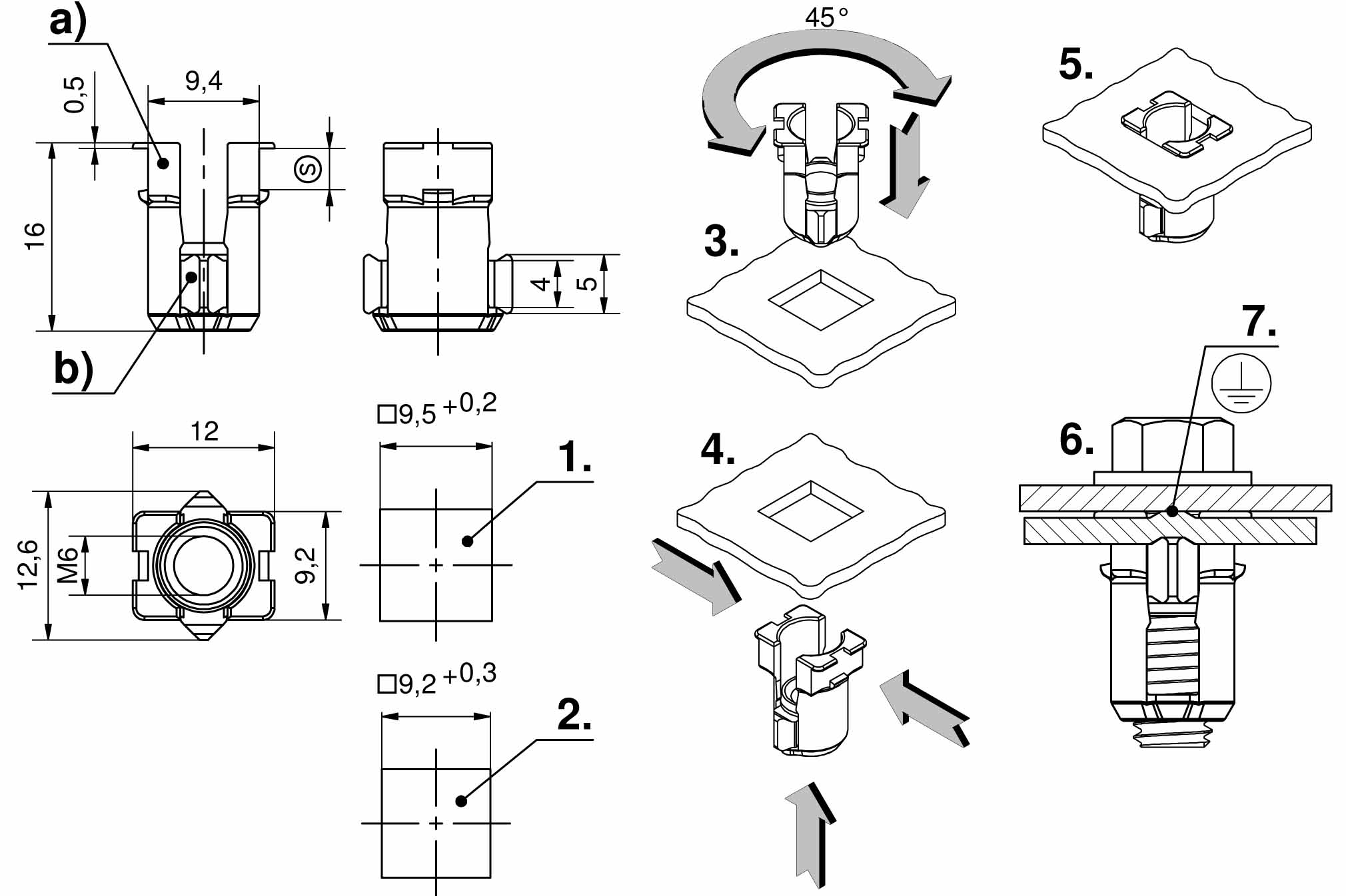
[6-046]
Erdungskäfigmutter □9,5
Verfügbare Ausführungen
Käfigmuttern, unmontiert
Produktnummer
Name
Klemmbereich (S)
Material
Oberfläche
Liefereinheit
a)
203-1901.06-00095
Käfig für Muttern
1.0 - 4.0 mm
PA
schwarz
2000 Stck
b)
203-1904.15-00006
Erdungsmutter M6
Stahl
verzinkt, weiß
2000 Stck