[4-135]
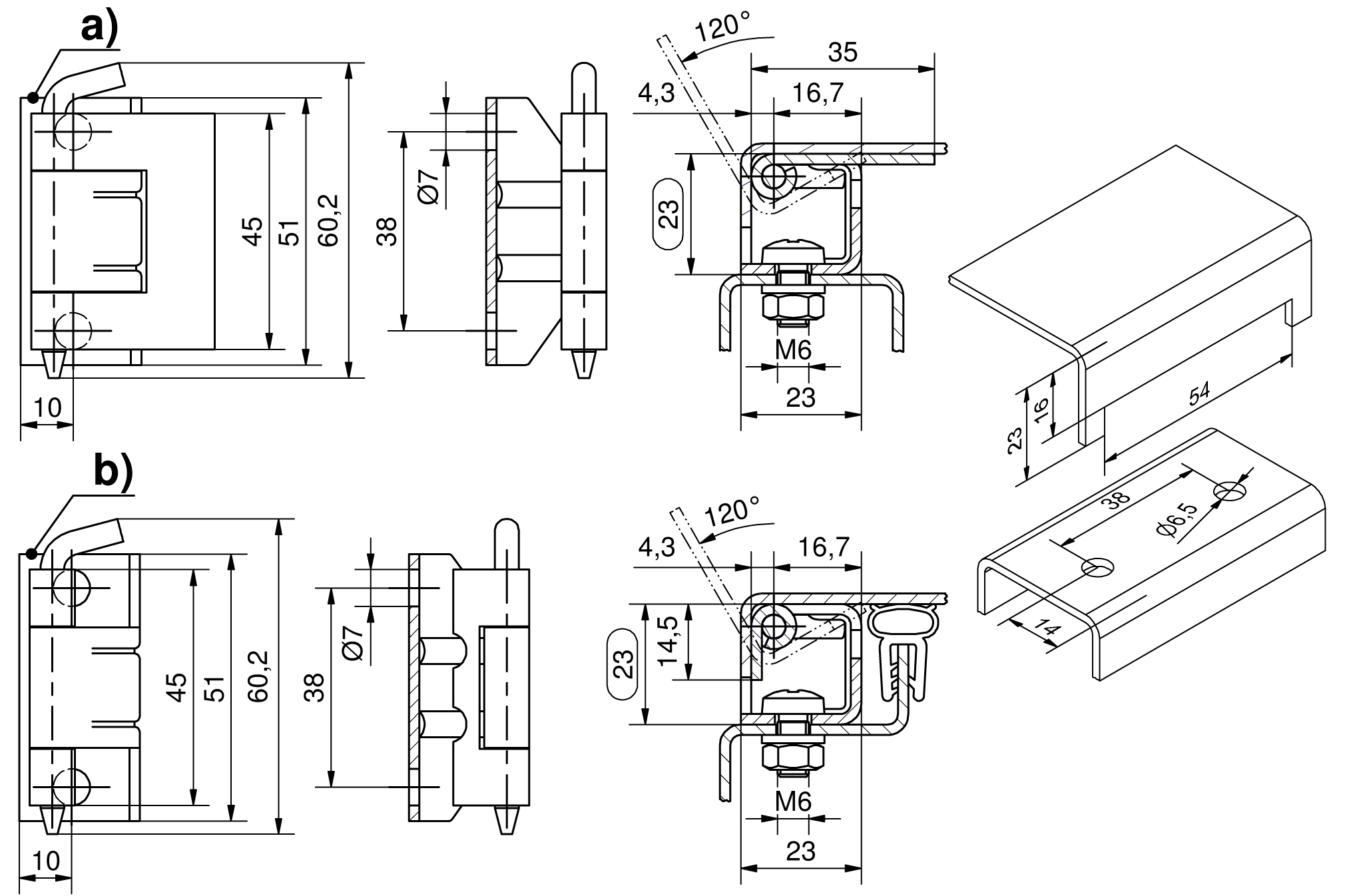
Verschwindscharnier Pr03 120°
Verfügbare Ausführungen
Verschwindscharnier
Produktnummer
Ausführung Stift
Montageart
Liefereinheit
a)
216-9008.00-00000
lose
anschraubbar / anschweißbar
10 Stck
b)
216-9013.00-00000
lose
anschraubbar / anschweißbar
10 Stck