[1-350]
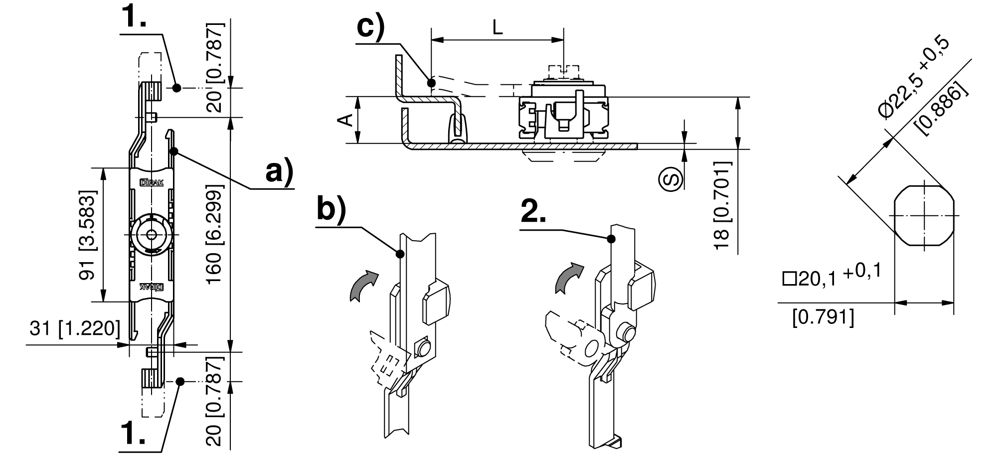
Rod Latch for Quarter-Turns L18 Pr20.1 RS/FS
















Advantages
- Applicable for quarter-turns with housing length 18mm.
- Rod latch applicable for round or flat rods.
- Dual rod holder.
- Quick assembly of the rods.
- Installation within the sealed area of enclosures.
- RH / LH application.
- At 90° operation - stroke 20mm.
- At 120° operation - stroke 27.5mm (for housings without 90° stop or cams without stop, the end stop is fixed by the rack).
Material
- Base plate: PA, black
- Driving rods, pinon: zinc die, untreated
- Washer: steel, zinc plated
Remarks
(S) door-thickness 1-2.5mm
Mountable only with cam.
Use of negatively bended cams not possible.
Grounding of the quarter-turn with grounding nut possible.
1. stroke
2. round rod 201-9006.00-Lxxmm not usable.
Available versions
Rod latch for quarter-turns L18
Product number
Rod fastening
Installation type
Delivery Unit
a)
200-9947.00-00000
quick-fit
snap-fit
1 pc.
Related Products
Accessories