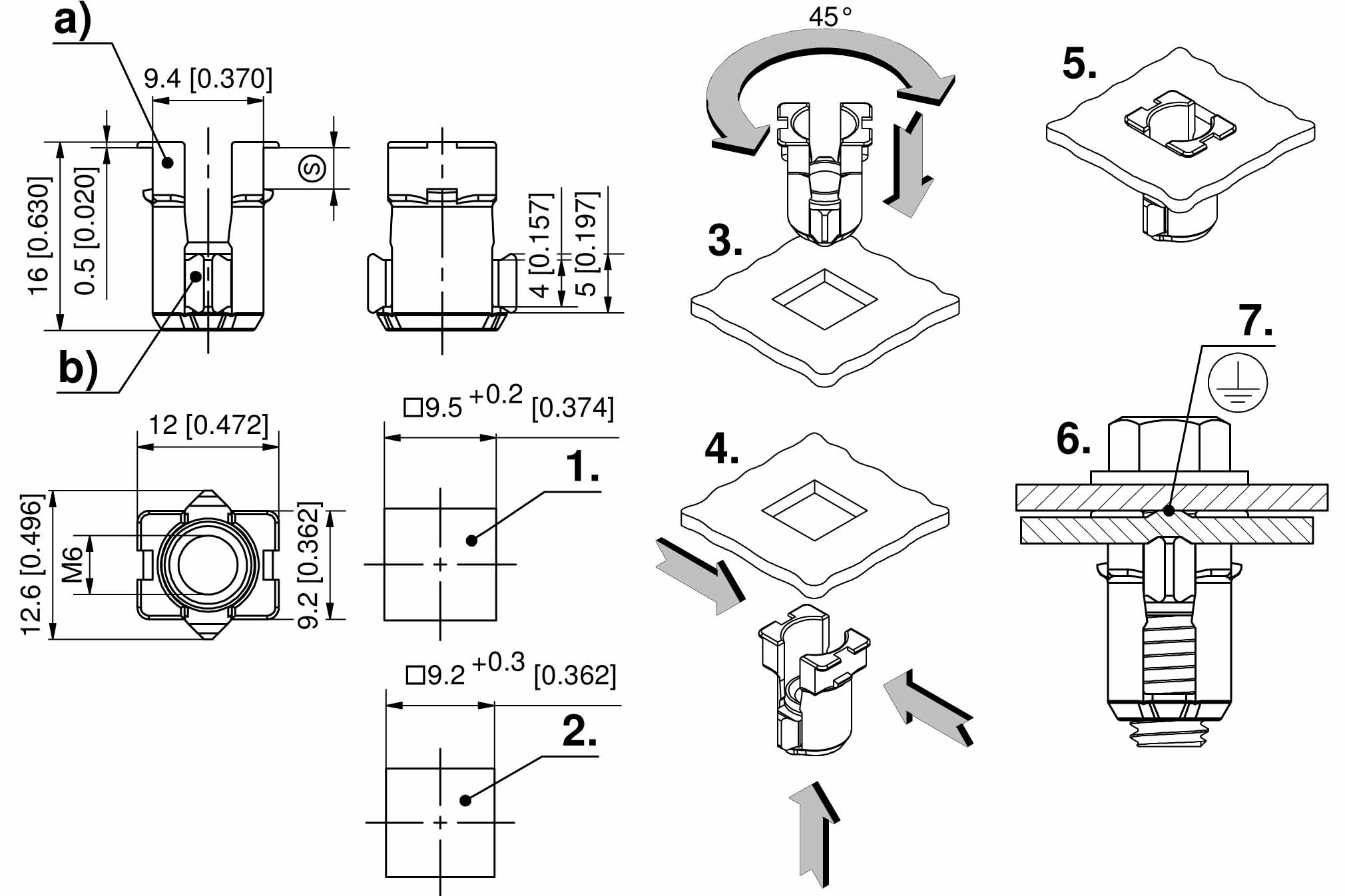
[6-046]
Grounding Cage Nut □9.5
Available versions
Cage nuts, unmounted
Product number
Name
Clamping range (S)
Material
Surface
Delivery Unit
a)
203-1901.06-00095
Cage for Nuts
1.0 - 4.0 mm
PA
black
2000 pcs.
b)
203-1904.15-00006
Grounding nut M6
steel
zinc plated, white
2000 pcs.